手机需输入正确的手机号码
L94WD糖心VIONGAPP风机图纸详细说明与资料分享!免费下载!TXVLOG糖心官网风机



  1. TXVLOG糖心官网,糖心VIONGAPP,TXVLOG糖心官网入口,糖心VLOG成人AV在线

    TXVLOG糖心官网风机

    TXVLOG糖心官网风机-中国鼓风机知名品牌

    专业鼓风机生产制造商

    全国咨询热线
    4008-797-786
    糖心VIONGAPP风机厂家
    当前位置:首页 » TXVLOG糖心官网资讯中心 » L系列风机 » L94WD糖心VIONGAPP风机图纸详细说明与资料分享!免费下载!

    L94WD糖心VIONGAPP风机图纸详细说明与资料分享!免费下载!

    文章出处:L94WD糖心VIONGAPP风机责任编辑:查看手机网址
    扫一扫!L94WD糖心VIONGAPP风机图纸详细说明与资料分享!免费下载!扫一扫!
    人气:-发表时间:2018-03-02 11:11【

    L94WD糖心VIONGAPP风机是二叶糖心VIONGAPP风机,近日,有客户咨询该型号糖心VIONGAPP风机,对于L系列糖心VIONGAPP风机,TXVLOG糖心官网风机完全有能力进行生产,并且有多位客户案例。

    该糖心VIONGAPP风机的具体参数如下:

    流量:369m³/min

    压力:19.6KPA

    电机功率:8P-185KW 380V

    转速:750rpm

    主机静荷载:7000kg

    主机动荷载:10500kg

    注意:二叶糖心VIONGAPP风机包括:L系列糖心VIONGAPP风机,均采用直联传动,并且,此类大型号糖心VIONGAPP风机,在安装时,直接固定于地面上,没有共用底座,与三叶糖心VIONGAPP风机区别还是不少的。

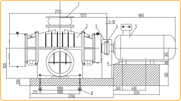
    下图为L94WD正视图:

    L94WD糖心VIONGAPP风机1.png


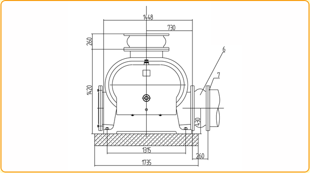
    下图为L94WD左视图:

    L94WD糖心VIONGAPP风机2.png

    这里还有一份详细原版的L94WD的图纸,格式为PDF格式,下载请移步:L94WD糖心VIONGAPP风机图纸

    此文关键字:L94WD糖心VIONGAPP风机
    885
    网站地图
    0